QR কোড
পণ্য
যোগাযোগ করুন


ফ্যাক্স
+86-574-87168065

ই-মেইল

ঠিকানা
লুওটুও শিল্প অঞ্চল, ঝেনহাই জেলা, নিংবো সিটি, চীন
আপনি যদি ভারী যন্ত্রপাতি চালাচ্ছেন - যেমন স্টিল রোলিং মিলগুলি যা ধাতব সমস্ত শিফটকে মন্থন করে, ক্রেনগুলি টন উপাদান উত্তোলন করে বা খনির গিয়ারগুলি যা ধূলিকণা এবং চাপের সাথে লড়াই করে - আপনার এমন একটি কাপলিং দরকার যা আপনাকে হতাশ করতে দেয় না। রায়ডাফনের এসডাব্লুসি-বিএইচ স্ট্যান্ডার্ড ফ্লেক্স ওয়েল্ডিং টাইপ ইউনিভার্সাল কাপলিং এর জন্য ঠিক এটিই তৈরি করা হয়েছে: নির্ভরযোগ্য টর্ক ট্রান্সমিশন, এমনকি কাজটি রুক্ষ হয়ে গেলেও।
প্রথমে, এর নকশা সম্পর্কে কথা বলা যাক। ঝালাই জোয়াল কেবল একটি বৈশিষ্ট্য নয়-এটি একটি গেম-চেঞ্জার। বোল্টেড ইয়োকসের বিপরীতে যা সময়ের সাথে সাথে আলগা করতে পারে, এটি এক ঝালাই শক্ত, তাই আপনার যন্ত্রপাতি কঠোর পরিশ্রম করার সময় অংশগুলি আলগা কাঁপানোর ঝুঁকি নেই। এবং এটি 180 মিমি থেকে 620 মিমি পর্যন্ত গাইরেশন ব্যাসগুলির সাথে একাধিক সেটআপের সাথে খাপ খায়-কোনও এক-আকারের-ফিট-নন বিকল্পের জন্য কোনও শিকার করতে হবে না। একটি স্ট্যান্ডার্ড ফ্লেক্স ইউনিভার্সাল কাপলিং হিসাবে, এটি কৌণিক মিস্যালাইনমেন্টের 15 ডিগ্রি পর্যন্ত পরিচালনা করে, যার অর্থ যদি আপনার শ্যাফ্টগুলি পুরোপুরি রেখাযুক্ত না হয় (এবং আসল হওয়া যাক, সেগুলি খুব কমই হয়) তবে এটি এখনও শক্তি চলমান রাখে। এমনকি যখন টর্কটি 1250 কেএন · এম - মারাত্মক শক্তি - এটি স্থির থাকে, কোনও স্টুটার, কোনও ড্রপ থাকে না।
আমরাও উপকরণগুলিতে ঝাঁকুনি দিইনি। এই জিনিসটি 35crmo স্টিল দিয়ে তৈরি-উচ্চ-শক্তি স্টাফ যা পরিধানের প্রতিরোধ করে, এমনকি যখন এটি কোনও খনিতে ঘুরে বেড়ায় বা ঘূর্ণায়মান মিলের কাছে উত্তপ্ত হয়ে যায়। এছাড়াও, আমরা যথার্থ সুই বিয়ারিংগুলি রেখেছি, সুতরাং এটি মসৃণ হয়, ঘর্ষণকে কেটে যায় এবং সস্তা কাপলিংয়ের চেয়ে দীর্ঘকাল স্থায়ী হয়। এ কারণেই এটি ভারী যন্ত্রপাতিগুলির জন্য সর্বজনীন কাপলিংয়ের জন্য যেতে-এটি কেবল কয়েক সপ্তাহের জন্য কাজ করে না; এটি আপনার সরঞ্জামগুলি চালিয়ে রেখে চারপাশে আটকে থাকে। এবং যদি আপনার শিল্প অ্যাপ্লিকেশনগুলির জন্য ঝালাই ইউনিভার্সাল কাপলিংগুলির প্রয়োজন হয়? এটি এটি - ld ালাই করা ডিজাইনটি বোল্টেড বিকল্পগুলির চেয়ে কম্পন এবং স্ট্রেসকে আরও ভাল পরিচালনা করে, তাই আপনি কম সময় ফিক্সিং এবং আরও বেশি সময় ব্যয় করতে ব্যয় করেন।
রায়ডাফনে, আমরা এগুলি চীনে তৈরি করি, তবে আমরা মানের উপর কোণগুলি কেটে ফেলি না। প্রতিটি পদক্ষেপ আইএসও 9001 স্ট্যান্ডার্ড অনুসরণ করে - আমরা ইস্পাত পরীক্ষা করি, আমরা ওয়েল্ডগুলি পরীক্ষা করি, আমরা বিয়ারিংগুলি পরীক্ষা করি - সুতরাং আপনি জানেন যে আপনি বিশ্বব্যাপী মানের নিয়মগুলি পূরণ করে এমন একটি কাপলিং পাচ্ছেন। এবং যদি আপনার সেটআপটি কিছুটা আলাদা হয়? আমরা কাস্টম টুইটগুলি করি - আকারটি সামঞ্জস্য করুন, চশমাগুলি টুইট করুন - আপনার এটি ফিট করার জন্য যা কিছু প্রয়োজন। সেরা অংশ? এটি বিলাসবহুল অংশের মতো দামের নয়। আপনি একটি টেকসই সর্বজনীন কাপলিং পান যা ভাগ্য ছাড়াই কঠোর পরিশ্রম করে। যে কেউ ডাউনটাইম বহন করতে পারে না, এই এসডাব্লুসিসি-বিএইচ কাপলিং হ'ল এমন এক ধরণের নির্ভরযোগ্য টুকরো যা আপনার যন্ত্রপাতিটিকে দিন এবং দিনের বাইরে চলে যায়।
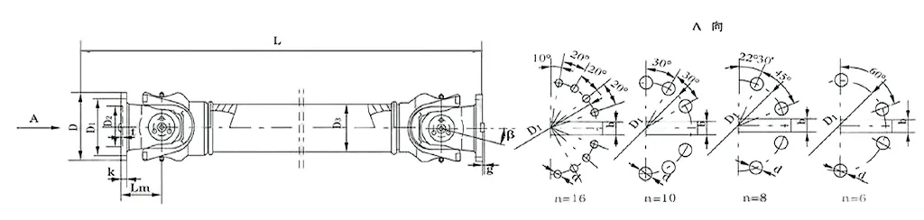
| নং নং | গাইরেশন ব্যাস d মিমি | নামমাত্র টর্ক টিএন কেএন · মি | অক্ষগুলি ভাঁজ কোণ β (°) | ক্লান্ত টর্ক টিএফ কেএন · মি | আকার (মিমি) | জড়তা ঘোরানো কেজিএম2 | ওজন (কেজি) | |||||||||||
| এলএমin | ডি 1 (জেএস 11) | ডি 2 (এইচ 7) | ডি 3 | এলএম | এন-ডি | k | t | b (এইচ 9) | g | এলএমin | বৃদ্ধি 100 মিমি | এলএমin | বৃদ্ধি 100 মিমি | |||||
| SWC100WH | 100 | 1.25 | 0.63 | 25 ° | 243 | 84 | 57 | 60 | 55 | 6-9 | 7 | 2.5 | - | - | 0.0039 | 0.00019 | 4.5 | 0.35 |
| SWC120WH | 120 | 2.5 | 1.25 | 25 ° | 307 | 102 | 75 | 70 | 65 | 8-11 | 8 | 2.5 | - | - | 0.0096 | 0.00044 | 7.7 | 0.55 |
| SWC150WH | 150 | 5 | 25 | 25 ° | 350 | 130 | 90 | 89 | 80 | 8-13 | 10 | 3 | - | - | 0.371 | 0.00157 | 18 | 24.5 |
| SWC180WH | 180 | 12.5 | 6.3 | 25 ° | 180 | 155 | 105 | 114 | 110 | 8-17 | 17 | 5 | - | - | 0.15 | 0.007 | 48 | 2.8 |
| SWC225WH | 225 | 40 | 20 | 15 ° | 520 | 196 | 135 | 152 | 120 | 8-17 | 20 | 5 | 32 | 9 | 0.365 | 0.0234 | 78 | 4.9 |
| SWC250WH | 250 | 63 | 31.5 | 15 ° | 620 | 218 | 150 | 168 | 140 | 8-19 | 25 | 6 | 40 | 12.5 | 0.817 | 0.0277 | 124 | 5.3 |
| SWC285WH | 285 | 90 | 45 | 15 ° | 720 | 245 | 170 | 194 | 160 | 8-21 | 27 | 7 | 40 | 15 | 1.756 | 0.051 | 185 | 6.3 |
| SWC315WH | 315 | 125 | 63 | 15 ° | 805 | 280 | 185 | 219 | 219 | 10-23 | 32 | 8 | 40 | 15 | 2.893 | 0.0795 | 262 | 8 |
| SWC350WH | 350 | 180 | 90 | 15 ° | 875 | 310 | 210 | 267 | 194 | 10-23 | 35 | 8 | 50 | 16 | 5.013 | 0.2219 | 374 | 15 |
| SWC390WH | 390 | 250 | 125 | 15 ° | 955 | 345 | 235 | 267 | 215 | 10-25 | 40 | 8 | 70 | 18 | 8.406 | 0.2219 | 506 | 15 |
| SWC440WH | 440 | 355 | 180 | 15 ° | 1155 | 390 | 255 | 325 | 260 | 16-28 | 42 | 10 | 80 | 20 | 15.79 | 0.4744 | 790 | 21.7 |
| SWC490WH | 490 | 500 | 250 | 15 ° | 1205 | 435 | 275 | 325 | 270 | 16-31 | 47 | 12 | 90 | 22.5 | 26.54 | 0.4744 | 1014 | 21.7 |
| SWC550WH | 550 | 710 | 355 | 15 ° | 1355 | 492 | 320 | 426 | 325 | 16-31 | 50 | 12 | 100 | 22.5 | 48.32 | 1.357 | 1526 | 34 |
আপনি যদি আপনার কাজকে ধীর করে দেয় বা আপনার যখন সবচেয়ে বেশি প্রয়োজন হয় তখন ভাঙা বা ভাঙা ফসী কাপলিংগুলির সাথে মোকাবিলা করতে ক্লান্ত হয়ে থাকেন তবে রায়ডাফনের এসডাব্লুইসি-ডাব্লুএইচএল ফ্লেক্স ওয়েল্ডিং টাইপ ছাড়াই ইউনিভার্সাল কাপলিং একটি গেম-চেঞ্জার। এটি এমন পার্কগুলির সাথে ভরপুর যা যান্ত্রিক সিস্টেমে মসৃণ টর্ক সংক্রমণের প্রয়োজন এমন কারও পক্ষে এটি শীর্ষ বাছাই করে তোলে - কোনও বিভ্রান্ত না ওয়েল্ডিং পদক্ষেপগুলি, কেবল শক্ত পারফরম্যান্স যা আপনার কর্মপ্রবাহের সাথে সরাসরি ফিট করে।
প্রথমে, এই জিনিসটি ইনস্টল করা আপনার ভাবার চেয়ে সহজ উপায়। ঝালাইযুক্ত কাপলিংয়ের বিপরীতে যা আপনাকে অতিরিক্ত সরঞ্জাম আনতে বা ওয়েল্ডগুলি সেট করার জন্য অপেক্ষা করতে বাধ্য করে, এসডাব্লুসি-ডাব্লুডাব্লুএইচ একটি বল্ট-অন ডিজাইন ব্যবহার করে। আপনি এটিকে আপনার বিদ্যমান সেটআপে দ্রুত স্লট করতে পারেন এবং যখন এটি রক্ষণাবেক্ষণের সময় হয়? এটিকে আলাদা করে নেওয়া একটি বাতাস, তাই আপনার শিল্প গিয়ারগুলি কম সময় ব্যয় করে। এ কারণেই এটি এত দুর্দান্ত বহুমুখী উচ্চ-টর্ক ইউনিভার্সাল জয়েন্ট কাপলিং-কোনও ডাউনটাইম মাথাব্যথা নয়, কেবল ভিতরে get ুকুন, আপনার যা প্রয়োজন তা ঠিক করুন এবং কাজে ফিরে যান।
স্থায়িত্ব অনুসারে, এটি শক্ত করার জন্য এটি নির্মিত। আমরা ভারী শুল্কযুক্ত উপকরণগুলি ব্যবহার করি যা বড় বোঝা এবং ধ্রুবক কম্পনগুলি ঝাঁকুনি ছাড়াই পরিচালনা করে-ব্যস্ত শিল্প স্পটগুলির জন্য নিখুঁত যেখানে সরঞ্জামগুলি কখনই বিরতি পায় না। এবং যেহেতু কোনও ld ালাই নেই, তাই সময়ের সাথে সাথে ওয়েল্ডগুলি যখন পড়ে যায় তখন আপনাকে সেই দুর্বল দাগগুলি নিয়ে চিন্তা করতে হবে না। এটি এমন কোনও সংযোগ নয় যা প্রতি কয়েক মাসে প্রতিস্থাপনের প্রয়োজন হয়; এটি শিল্প যন্ত্রপাতিগুলির জন্য একটি নির্ভরযোগ্য সর্বজনীন যৌথ সংযোগ যা আপনার অপারেশনগুলিকে অবিচল রেখে চারপাশে আটকে থাকে।
মিসিলাইনমেন্টস? কোন সমস্যা নেই। শ্যাফ্টগুলি কখনই পুরোপুরি সারিবদ্ধ থাকে না, বিশেষত স্বয়ংচালিত বা পরিবহন ব্যবস্থায়, তবে এসডাব্লুসি-ডাব্লুডাব্লু একটি প্রো এর মতো কৌণিক, অক্ষীয় এবং রেডিয়াল বিচ্যুতি পরিচালনা করে। এটি এমন এক ধরণের ড্রাইভ শ্যাফ্ট ইউনিভার্সাল জয়েন্ট কাপলিং যা প্রান্তিককরণটি খুব সহজেই চলমান রাখে এমনকি যখন প্রান্তিককরণটি অদ্ভুত হয়ে যায় - কোনও ঝাঁকুনি, কোনও ফোঁটা নেই, কেবল ধারাবাহিক পারফরম্যান্স।
এবং আসুন কথা বলা যাক। ওয়েল্ডিং অতিরিক্ত শ্রম এবং উপাদান ফি যুক্ত করে, তবে এই কাপলিং সমস্ত কিছু এড়িয়ে যায়। আপনি ওভারস্পেন্ডিং ছাড়াই একটি মানের পণ্য পান, যা কোনও বাজেটের জন্য একটি বড় জয়। এমনকি সামুদ্রিক সেটআপগুলির মতো জটিল দাগগুলিতে, যেখানে জারা একটি ধ্রুবক হুমকি, এটি একটি নির্ভরযোগ্য সামুদ্রিক সর্বজনীন যৌথ কাপলিং হিসাবে ধরে রাখে - আপনার ওয়ালেটে সহজ লবণাক্ত জলের বিরুদ্ধে।
আপনি যদি পুনর্নবীকরণযোগ্য শক্তিতে পরিণত হন তবে এই কাপলিংটিও ঠিক ফিট করে। এটি পুনর্নবীকরণযোগ্য শক্তি সরঞ্জামগুলির জন্য একটি শক্ত সর্বজনীন যৌথ সংযোগ যা দক্ষতার সাথে শক্তি চালিত করে, সবেমাত্র কোনও বর্জ্য সহ। এছাড়াও, এটি হালকা, সুতরাং এটি আপনার সিস্টেমকে ওজন করে না - পারফরম্যান্স ত্যাগ ছাড়াই জিনিসগুলি টেকসইভাবে চলমান রাখার জন্য দুর্দান্ত।
রায়ডাফনে, আমরা কেবল কাপলিং বিক্রি করি না - আমরা আপনার প্রয়োজনের সাথে খাপ খায় এমনগুলি তৈরি করি। এসডাব্লুসি-ডাব্লুএইচ কাস্টমাইজযোগ্য, সুতরাং আপনি এটি কীভাবে চান তা ঠিক কাজ করে। আপনি যদি কৌতূহলী হন তবে কীভাবে এটি আপনার ক্রিয়াকলাপগুলিকে মসৃণ করতে পারে, কেবল আমাদের দলকে আঘাত করুন। আমরা আপনাকে এর মধ্য দিয়ে চলব, কোনও জারগন - এই কাপলিং আপনার জন্য কী করতে পারে তা সম্পর্কে সরাসরি কথা বলুন।
ফ্লেক্স ওয়েল্ডিং টাইপ ছাড়াই রায়ডাফনের এসডাব্লুইসি-ডাব্লুডাব্লুএইচ ইউনিভার্সাল কাপলিং কার্ডান যৌথ যান্ত্রিকগুলির প্রাথমিক জ্ঞান কীভাবে কাজ করে-তবে আমরা শিল্প কাজের জন্য আরও কঠোর আঘাতের জন্য এটি টুইট করেছি। পুরো বিষয়টি? টর্কটি এমন দুটি শ্যাফটের মধ্যে মসৃণভাবে চলতে পান যা কোনও কোণে থাকলেও পুরোপুরি রেখাযুক্ত নয়। একটি উদ্দেশ্য-নির্মিত এসডব্লিউসি কার্ডান শ্যাফ্ট ইউনিভার্সাল জয়েন্ট কাপলিং হিসাবে, এটি ঘূর্ণন শক্তি প্রবাহিত স্থির রাখতে মাঝখানে একটি ক্রস-আকৃতির টুকরো ব্যবহার করে-তা নিশ্চিতভাবে কেন এটি রোলিং মিল বা হোস্টিং যন্ত্রপাতিগুলির মতো কঠোর কাজের জন্য এমন একটি উচ্চ-টর্ক ইউনিভার্সাল জয়েন্ট কাপলিং।
আসুন এটি কীভাবে কাজ করে তার মূলটি ভেঙে ফেলি: দুটি কাঁটাযুক্ত জোকে রয়েছে এবং তারা একটি কেন্দ্রীয় ক্রস দ্বারা সংযুক্ত রয়েছে (আমরা এটিকে একটি মাকড়সা বলি)। এই সেটআপটি ইয়োকস পিভটকে একাধিক দিকনির্দেশে দেয় - তেমনি শ্যাফ্টগুলি 25 ° পর্যন্ত অফসেট করা হলেও (এটি এটির সর্বোচ্চ অক্ষের ভাঁজ কোণ), টর্কটি এখনও সমানভাবে পাস হয়ে যায়। এটি ব্যাক আপ করার জন্য চশমা পেয়েছে: গাইরেশন ব্যাসারগুলি φ58 থেকে φ620 পর্যন্ত রয়েছে এবং এটি নামমাত্র টর্ককে 0.15 থেকে 1000 কেএন · মি পর্যন্ত পরিচালনা করে। আপনি যখন এটি রোলিং মিল অপারেশনগুলির জন্য ভারী শুল্ক ইউনিভার্সাল জয়েন্ট কাপলিং হিসাবে ব্যবহার করছেন, তখন এই নকশার অর্থ ইনপুট ঘূর্ণনটি কোনও বাধা ছাড়াই আউটপুট গতিতে পরিণত হয়-যেগুলি তাদের নিজেরাই স্পষ্টত জয়েন্টগুলি পিভটকে মিস্যালাইনমেন্টগুলি তৈরি করতে পারে না, কোনও বাধা দেয় না।
"ফ্লেক্স ওয়েল্ডিং ছাড়াই" অংশটি কী তৈরি করে? আমরা বোল্ট বা ক্ল্যাম্পড সংযোগগুলির জন্য ওয়েল্ডগুলি সরিয়ে নিয়েছি। ওয়েল্ডগুলি সময়ের সাথে সাথে দুর্বল দাগ হতে পারে তবে এই ফাস্টেনারগুলি ব্যর্থতার ঝুঁকিগুলি হ্রাস করে - এবং তারা কাপলকে একসাথে রাখার উপায়কে আরও সহজ করে তোলে। এই শিল্প ইউনিভার্সাল জয়েন্ট কাপলিংয়ের একটি আপগ্রেডড ফর্ক হেড ডিজাইনও রয়েছে যা বোল্টগুলি আলগা হওয়া থেকে বিরত রাখে, এর কাঠামোগত শক্তি 30%-50%বাড়িয়ে তোলে। এটি খনি বা নির্মাণ সাইটগুলির মতো স্পটগুলির দাবিতে একটি বড় চুক্তি, যেখানে এটি একটি টেকসই এসডাব্লুসিসি ইউনিভার্সাল জয়েন্ট শ্যাফ্ট কাপলিং হিসাবে কাজ করে - না দিয়ে ভারী ভার বহন করে।
দক্ষতা এখানে আরেকটি জয়: এটি 98.6% সংক্রমণ দক্ষতা পর্যন্ত আঘাত করে। আমরা ঘর্ষণ এবং শক্তি বর্জ্য হ্রাস করার জন্য প্রতিটি অংশকে ইঞ্জিনিয়ার করেছিলাম-সুতরাং এটি অবাক হওয়ার কিছু নেই যে এটি উচ্চ-শক্তি শিল্প সেটআপগুলিতে বৃহত বিদ্যুৎ সংক্রমণের জন্য একটি দক্ষ সর্বজনীন যৌথ সংযোগ। এবং এটি শান্ত চলে: সাধারণত 30-40 ডিবি (ক)। এটি ভারসাম্যযুক্ত ঘূর্ণন এবং অন্তর্নির্মিত কম্পন স্যাঁতসেঁতে ধন্যবাদ-এটি এমন জায়গাগুলির জন্য একটি স্বল্প-শব্দের সর্বজনীন যৌথ সংযোগ তৈরি করে যেখানে গোলমাল সমস্যা। এছাড়াও, এটি শক্তির ব্যয়কে কমিয়ে রাখে, তাই এটি শক্তি-সঞ্চয়কারী সর্বজনীন যৌথ কাপলিংয়ের প্রয়োজনের জন্য বাক্সটি পরীক্ষা করে।
ভারী যন্ত্রপাতি ইউনিভার্সাল জয়েন্ট কাপলিং সিস্টেমগুলিতে, এটি সবচেয়ে গুরুত্বপূর্ণ: এসডাব্লুসিসি-ডাব্লুএইচ এর সমস্ত অংশ জুড়ে সমানভাবে বাহিনী ছড়িয়ে দেয়। কোনও একক টুকরো খুব বেশি চাপ নেয় না, যার অর্থ কম ব্রেকডাউন এবং দীর্ঘতর জীবন। রায়ডাফনে, আমরা কেবল চশমাগুলি পূরণ করার জন্য এই কাপলিংটি তৈরি করি না - আমরা এটি আপনার কাজের জন্য কাজ করার জন্য উপযুক্ত, তা সে ভারী যন্ত্রপাতি বা বিশেষায়িত শিল্প সেটআপগুলি হোক না কেন। আপনি যদি আপনার সিস্টেমটিকে মসৃণ বা দীর্ঘস্থায়ী করতে এটি টুইট করতে চান তবে কেবল আমাদের দলের সাথে কথা বলুন - আমরা আপনাকে এমন একটি সেটআপ পেতে সহায়তা করব যা আপনার যা প্রয়োজন ঠিক তার সাথে খাপ খায়।
⭐⭐⭐⭐⭐ জাং ওয়েই, মেকানিকাল ইঞ্জিনিয়ার, বেইজিং ইন্ডাস্ট্রিয়াল মেশিনারি কোং, লিমিটেড
আমরা কয়েক মাস ধরে আমাদের উত্পাদন সরঞ্জামগুলিতে ফ্লেক্স ওয়েল্ডিং টাইপ ইউনিভার্সাল কাপলিং ছাড়াই রায়ডাফনের এসডাব্লুইসি-ডাব্লুএইচ করেছি, এবং এটি একটি অবিচলিত অভিনয়শিল্পী-বিশেষত যখন আমরা আমাদের মেশিনগুলিকে উচ্চ বোঝা পরিচালনা করার জন্য চাপ দিচ্ছি। আমি যা সত্যই প্রশংসা করি তা হ'ল এর দৃ ust ় বিল্ড: এমনকি সেই দীর্ঘ সময়ে, অন্যান্য অংশগুলি বিচ্যুত হতে শুরু করতে পারে এমন শিফটগুলিতেও এই কাপলিং জিনিসগুলি মসৃণ করে রাখে - কোনও এলোমেলো কম্পন নয়, কোনও হঠাৎ ব্যর্থতা যা আমাদের পুরো লাইনটি বন্ধ করে দেয়।
ইনস্টলেশনও একটি বাতাস ছিল। আমাদের দলকে জটিল পদক্ষেপগুলি বের করার জন্য ঘন্টা ব্যয় করার দরকার নেই; আমরা এটি দ্রুত মাউন্ট পেয়েছি এবং এর পরে থেকে এটি টুইট করতে হয়নি। আমাদের মতো ভারী শুল্ক গিয়ারের জন্য, নির্ভরযোগ্যতা এবং গুণমান অ-আলোচনাযোগ্য এবং এই কাপলিং উভয় বাক্সই পরীক্ষা করে। রায়ডাফনের প্রমাণিত তারা অংশীদার, আমরা এখানে গণনা করতে পারি - আমরা এই পণ্যটি কীভাবে ধরে রেখেছে তাতে আমরা সত্যই খুশি।
⭐⭐⭐⭐⭐ জন স্মিথ, প্ল্যান্ট ম্যানেজার, ফ্লোরিডা ম্যানুফ্যাকচারিং, মার্কিন যুক্তরাষ্ট্র
আমি কয়েক মাস আগে আমাদের ফ্লোরিডা সুবিধায় রায়ডাফনের এসডাব্লুইসি-ডাব্লুএইচএইচএলকে ব্যবহার করার জন্য রেখেছি এবং এটি আমাদের ঠিক যা প্রয়োজন তা ছিল-সিম্পল, নন-ফাস এবং ধারাবাহিকভাবে কার্যকর। পাওয়ার ট্রান্সমিশন স্থিতিশীল থাকে, যা আমাদের উত্পাদনকে গতিতে রাখার জন্য মূল বিষয় এবং আমাদের একবার রক্ষণাবেক্ষণের জন্য এটি স্পর্শ করতে হয়নি। এটি আমাদের জন্য একটি বড় জয়; কম সময় নির্ধারণের অংশগুলি মানে আরও বেশি সময় কাজ করা।
এমনকি যখন আমরা উচ্চ চাপের মধ্যে মেশিনগুলি কঠোরভাবে চালাচ্ছি তখনও এই কাপলিংটি ঝাঁকুনি দেয় না - এটি কেবল চালিয়ে যায়। ইনস্টলেশন খুব সোজা ছিল; আমাদের প্রযুক্তিগুলি এটি কোনও সময়েই সেট আপ করেছিল। এবং আপনি যখন এই পারফরম্যান্সকে যুক্তিসঙ্গত দামের সাথে যুক্ত করেন? এটি একটি শক্ত মান। এছাড়াও, আমাদের যখন দ্রুত প্রশ্ন ছিল তখন রায়ডাফনের গ্রাহক সমর্থন শীর্ষস্থানীয় ছিল-তারা আমাদের কাছে দ্রুত ফিরে এসেছিল। সন্দেহ নেই যে আমরা তাদের পণ্যগুলি লাইনে ব্যবহার করব।
⭐⭐⭐⭐⭐ রবার্তো সিলভা, অপারেশন ডিরেক্টর, সাও পাওলো ইঞ্জিনিয়ারিং সলিউশনস, ব্রাজিল
আমরা কিছুক্ষণের জন্য রায়ডাফনের সাথে অংশীদার হয়েছি, তবে তাদের এসডাব্লুসিসি-ডাব্লুএইচই ফ্লেক্স কাপলিং ছাড়াই সত্যই আমাদের ক্রিয়াকলাপগুলিতে দাঁড়িয়েছে-এটি তার বার বার প্রমাণিত। আপনি প্রথম যে বিষয়টি লক্ষ্য করেছেন তা হ'ল এর শক্ত নির্মাণ; এটি শেষ অবধি নির্মিত বোধ করে এবং এটি আমাদের যন্ত্রপাতিগুলিতে নির্ভরযোগ্য পারফরম্যান্সে অনুবাদ করে।
আমরা এই কাপলিংয়ে স্যুইচ করার আগে, আমরা আমাদের পুরানো অংশগুলিতে মিস্যালাইনমেন্ট ইস্যু এবং অকাল পরিধান থেকে ঘন ঘন ডাউনটাইম নিয়ে কাজ করছিলাম। এখন? সেই সমস্যাগুলি চলে গেছে। এটি আমাদের ডাউনটাইম পথ কেটে গেছে, যা উত্পাদনশীলতার জন্য একটি বিশাল উত্সাহ। এবং ইনস্টলেশন? সুপার ইজি - আমাদের দল সময় সমস্যা সমাধানের সেটআপ নষ্ট করে না। যে কোনও সংস্থার জন্য যে শক্তি সংক্রমণ অংশগুলির প্রয়োজন তাদের জন্য তারা বিশ্বাস করতে পারে, এটি একজন নন-ব্রেইনার। আমি একেবারে এটি সুপারিশ করব।
⭐⭐⭐⭐⭐ পিটার মুলার, প্রযুক্তিগত সুপারভাইজার, স্টুটগার্ট ম্যানুফ্যাকচারিং জিএমবিএইচ, জার্মানি
আমরা ছয় মাসেরও বেশি সময় ধরে আমাদের স্টুটগার্ট উত্পাদন সুবিধায় রায়ডাফনের এসডাব্লুসি-ডাব্লুডাব্লুএইচ কাপলিং ব্যবহার করে আসছি এবং এটি দোষহীন ছিল-সার্বিকভাবে, পুরো সময়টিও একটি ইস্যু নয়। এর নকশাটি সোজা, যা ইনস্টলেশনকে একটি সিঞ্চ করে তোলে; আমাদের দলটি এটি ফিট করে এবং কোনও সময় না যাওয়ার জন্য প্রস্তুত ছিল, কোনও জটিল পদক্ষেপ বা বিশেষ সরঞ্জামের প্রয়োজন নেই।
যা আমাকে সত্যই প্রভাবিত করে তা হ'ল গুণটি। Ld ালাই পরিষ্কার এবং শক্তিশালী, এবং উপকরণগুলি উচ্চ-গ্রেড অনুভব করে-আপনি বলতে পারেন যে তারা কোণগুলি কাটেনি। এটি নিয়মিত ব্যবহারের অধীনে পুরোপুরি ধরে রাখা হয়, কয়েক মাস অবিচ্ছিন্ন অপারেশনের পরেও পরিধানের শূন্য লক্ষণগুলি দেখায়। এই পণ্যটি কীভাবে সম্পাদন করে তাতে আমরা আরও বেশি খুশি এবং ভবিষ্যতের প্রকল্পগুলির জন্য এটি ইতিমধ্যে আমাদের তালিকায় রয়েছে।
ঠিকানা
লুওটুও শিল্প অঞ্চল, ঝেনহাই জেলা, নিংবো সিটি, চীন
টেলিফোন
ই-মেইল


+86-574-87168065


লুওটুও শিল্প অঞ্চল, ঝেনহাই জেলা, নিংবো সিটি, চীন
কপিরাইট © রায়ডাফোন টেকনোলজি গ্রুপ কোং, সীমাবদ্ধ সমস্ত অধিকার সংরক্ষিত।
Links | Sitemap | RSS | XML | গোপনীয়তা নীতি |
